欢迎使用
亲,请登录
或
免费注册
|
联系客服
搜淘宝
搜京东
搜拼多多
搜唯品会
搜索
今日热搜:
60553
洛肯
51384447
101746
100004786
472170
微信扫一扫
关注微信公众号
查券更方便
首页
9块9包邮
超级人气榜
品牌优惠券
淘宝优惠券
京东优惠券
拼多多券
本地生活券
唯品会优惠券
线报捡漏
03月31日:袋鼠妈妈面膜5片5.9
03月30日:御泥坊面膜任选3件到手15片 18.18元
03月30日:香水小样5ml任选5件 9.9 折1.9/件‼
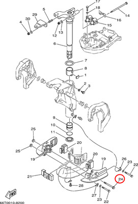
24翟墨雅马哈舷外机船外挂机橡皮
26元
¥26
活动结束时间:01-01 08:00
累计销量 :
0
件
TAG标签:
雅马哈
舷外机
挂机
橡皮
立即领券
复制优惠
手机淘宝扫码领券购买
商品详情
特别推荐
高洁丝海岛棉日夜卫生巾
原价¥84
10万
件
15元券
¥
69
【春季限定】五黑豆沙青团蛋黄肉松糯米小团子清明时令特产糕点
原价¥18.83
26
件
6元券
¥
12.83
【10-11月产热卖】特仑苏纯牛奶梦幻盖/嗨milk250ml×10包×2箱
原价¥111.9
8000
件
52元券
¥
59.9
大宇恒温电热水壶全自动智能定量出水泡奶家用调奶器饮水机旗舰款
原价¥659
46
件
280元券
¥
379
VIKpro97%高纯EPA鱼油60粒
原价¥249
400
件
140元券
¥
109
NatyCare尼塔天使pro拉拉裤安睡
原价¥172.66
5000
件
102元券
¥
70.66
英氏婴幼儿液体爽肤露
原价¥49
300
件
20元券
¥
29
蓬松生活婴儿湿巾80抽
原价¥11.9
7
件
6元券
¥
5.9
【达霏欣】米诺地尔搽剂5%*60ml*1瓶/盒
原价¥56.6
8万
件
20元券
¥
36.6
大宇大白鲸奶瓶消毒器柜紫外线
原价¥1628
2万
件
329元券
¥
1299
拉面范红烧牛肉面桶装
原价¥22.9
2万
件
2元券
¥
20.9
2026新款加大加厚成人女浴巾家用
原价¥28.9
200
件
16元券
¥
12.9